公众版
员工版
互联网医院
English
医院首页
医院概况
新闻中心
就诊指南
科室专家
护理天地
健康科普
互联网医院
 
您当前的位置 : 天津市肿瘤医院  >  医疗技术科室  >  分子影像及核医学诊疗科  >  特色科室
 
SPECT/CT中心简介
 时间: 2021-12-02  来源: 天津市肿瘤医院
 
  

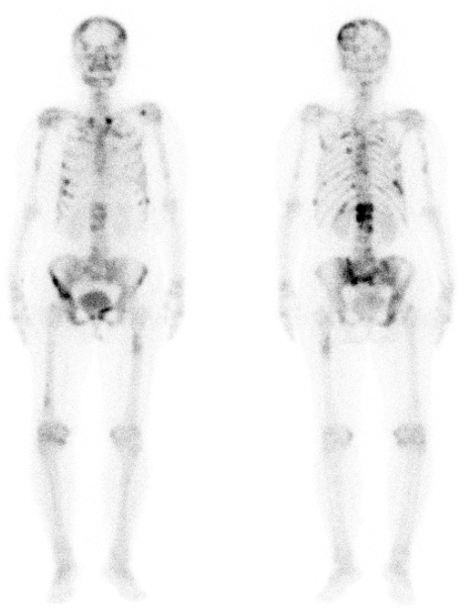
SPECT1

  SPECT/CT中心是由1958年成立的核医学科沿革而来,科室于1989年引进法国Soph A SPECT,是国内最早开展SPECT显像的科室之一。目前有工作人员10名,其中诊断医师3名(副主任医师1名),技师4名(副主任技师1名),护士2名,登记员1名,现部门年检诊量超万例,我们以精良的设备、精湛的技术、优良的服务、饱满的工作热情为临床诊疗提供了翔实的影像学依据,为广大患者的康复之路铺设了坚实的基础。

  2019年7月,我科引进世界上最先进的大型医用显像设备之一——德国西门子Symbia T16 SPECT/CT。该设备主要由可变角双探头SPECT和16层诊断级CT两部分组成,将功能显像的SPECT与解剖显像的CT图像有机融合,实现SPECT的高敏感性优势及CT的解剖准确性优势互补,有效提高病灶的检出能力和定位能力,进一步提高疾病诊断的准确率。集高敏感性、高分辨率、高准确性及精准融合等优点于一体的SPECT/CT完美产生了1+1>2的显像效果。

  为满足临床诊疗需求,现开展全身骨扫描、甲状腺显像及全身碘扫描等检诊项目。其中全身骨显像是核医学最常用的检查项目之一,在恶性肿瘤(尤其是乳腺癌、前列腺癌、肺癌等)骨转移的筛查中发挥了不可替代的作用;甲状腺显像及全身碘扫描作为特异性显像手段,应用于分化型甲状腺癌患者术后131碘的治疗中,在甲状腺癌残留病灶及转移灶的检出中有其他检查方式不可比拟的优势。

  图例1:患者,女,54岁,左侧乳腺癌术前,行全身骨扫描发现全身多发骨转移。

  图例2:患者,男,35岁,分化型甲状腺癌术后,行SPECT-CT显像: CT显像左下肺可见粟粒影,余部位未见明显异常

  SPECT影像可见左下肺点状异常放射性浓集区及双肺弥漫性异常放射性浓集,考虑双肺摄碘转移灶。

 
 
 
 
法律声明 | 联系我们
Copyright @ 2005 Tianjin Medical University Cancer Institute and Hospital. All rights reserved.
天津市肿瘤医院(天津医科大学肿瘤医院) 版权所有 津教备0005号 津ICP备05002861号
中文域名:天津市肿瘤医院.公益 天津医科大学肿瘤医院.公益